18年线性恒流IC,电源芯片方案。服务热线:133-3291-3059(微信同号)

双段投光灯线性恒流icSM2082ED能过认证的驱动电路方案分析

作者:小编    发布时间:2018-08-20 18:14:00    浏览量:

 

 
 
SM2082ED系统方案设计图
 
 
hth网页版在线登录恒流调光icSM2082ED投光灯最新应用方案替换CYT3000AB
 
 
高压线性恒流ic  SM2082ED可以精准的控制电流输出值在5mA~60mA之间不变。光效能高,
 
照明度高。
芯片间输出电流偏差小于±4%
输入 AC 电压:120V / 220V
支持可控硅调光应用电路
 
高压线性恒流IC,SM2082ED 是单通道 LED 恒流驱动控制芯片,SM2082ED使用了hth网页版在线登录
 
电子拥有生产专利的恒流控制技术,高压线性恒流ICSM2082ED 输出电流由外接 Rext 电
 
阻设置为5mA~60mA,且SM2082ED输出电流不随芯片 OUT 端口电压而变化,恒流性能比较
 
好。并且高压线性恒流IC SM2082ED系统构造比较简单,设计方案简单,SM2082ED高压线
 
性方案成本低。


SM2082ED电气工作参数
 
 
 
高压线性恒流IC SM2082ED最大的特色功能就是具有过热保护功能
单颗SM2082ED芯片可做 12W 系统方案
封装形式:ESOP8
 
注:表贴产品焊接最高峰值温度不能超过 260℃,温度曲线依据 J-STD-020 标准、参考
 
工厂实际和锡膏商建议由工厂自行设定。
 
若无特殊说明,环境温度为 25°C。
 
高压线性恒流ic  SM2082ED其中 Vin 是系统输入电源电压,VLED 是单个 LED 工作电压
 
降,ILED 是 LED 导通电流。可看出系统串联的 LED
数量 n 越大,系统工作效率越高。
系统设计过程中,需根据应用环境调整 SM2082ED 的 OUT 端口工作电压,优化 η 值。
 

SM2082ED的调光应用电路
 
高压线性恒流ic  SM2082ED恒流曲线可看出常温下 OUT 端口最低电压 VOUT_MIN:IOUT 
 
= 20mA,VOUT_MIN = 4.1V; IOUT = 30mA,VOUT_MIN = 4.6V;IOUT = 40mA,
 
VOUT_MIN = 5.0V;
 
根据 LED 灯的并接组数和 LED 灯工作电流选择并联芯片数量,图中 Rext1~RextN 的电
 
阻值可设置相同或者不同。
在高压线性IC SM2082ED芯片并联应用中,Rext 电阻取值不同时,整个系统的恒流开启电
 
压为并联 SM2082ED 中的最大开启电压。
 
 
高压线性恒流IC SM2082ED的应用领域:
T5/T8 系列 LED 日光灯管
LED 路灯照明应用
LED 球泡灯,LED 吸顶灯
 
SM2082ED这款高压线性恒流IC,应用领域还是挺广泛的。
 
SM2082ED电气工作参数
 
单颗芯片应用说明
图 5 是 SM2082ED 交流电源应用方案电路图,LED 灯管中的 LED 灯可用串联、并联或者
 
串、并结合连接方式; C1 是高压瓷片电容,用于降低 Vin 电压值;C2 是电解电容,用
 
于降低 Vin 电压纹波;Rext 电阻用于设置
 
 
 
 
有需要联系订购想要更详细了解高压线性恒流IC, SM2082ed的信息的,请华体汇官网app入口电
 
子4000336518,或者联系13802567304林先生。
 
 
根据 LED 灯的并接组数和 LED 灯工作电流选择并联芯片数量,图中 Rext1~RextN 的电
 
阻值可设置相同或者不同。
在芯片并联应用中,Rext 电阻取值不同时,整个系统的恒流开启电压为并联 SM2082ED 
 
中的最大开启电压
 
SM2082ED温度保护点图
 
瓷片电容 C1 的容值由 AC 源电压和 LED 灯管中串接的 LED 数量 n 决定,一般可取 
 
0uF ~ 4.7uF。当 LED 灯数量串联的足够多时不需要使用 C1 电容。
电解电容 C2 值越大,电压 Vin 纹波越小,SM2082ED OUT 端口电压纹波越小。C2 值根
 
据 LED 灯管总工作电流而定:电流越大,C2 容值越大,一般取值 
 
4.7uF/400V~22uF/400V
 
 
 
 
高压线性恒流ic  SM2082ED可根据不同应用环境接在系统 GND 端口、LED 灯中间或者 
 
LED 灯之前。
1. LED 灯串电压建议控制在 250V 到 270V 之间,系统工作最优化。
2. 通过改变 R1,R2 电阻值,调整输出工作电流值。
3. R3 为系统放电电阻,建议 510K 到 1M 之间。
4. C2 电容为抗干扰器件,建议使用。

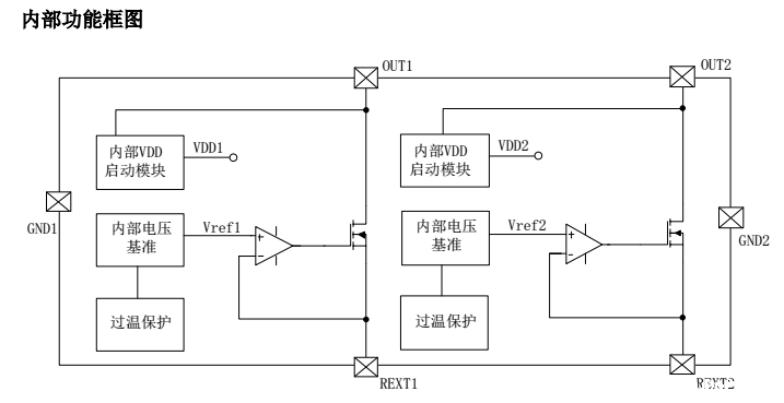
SM2082ED内部功能框图
 
 
高压线性恒流ic  SM2082ED可控硅调光方案
 
 
LED 灯串电压建议控制在 110V 到 120V 之间,系统工作最优化。
2. 通过改变 R1 电阻值,调整输出工作电流值,改变 R2 电阻值,调整泄放电流值。
3. R3 为功率电阻,用于降低 U2 SM2082ED 的功耗,R3 功耗控制在 1W 内。
4. R4 为系统放电电阻,建议 300K 到 510K 之间。
 


推荐新闻

关注官方微信

led芯片
Baidu
map